|
进口气动低温紧急切断阀
CRYOGENIC EMERGENCY SHUT-OFF VALVE
品牌:德国沃德WODE
该进口气动低温紧急切断阀适用于低温贮槽、槽车和罐车上切断流通介质,特别是在出现故障时能及时切断介质。广泛用于LNG、液态乙烯及其他低温介质,具有体积小、重量轻、密封可靠、紧急切断迅速可靠和防静电的特点。

主要技术参数:
公称压力:1.6、2.5、4.0、6.4、10Mpa或Class150~Class600
强度试验压:公称压力的1.5倍值
气密性试验压力:公称压力的1.1倍值
反向密封试验压力:0.4Mpa
气缸气源压力:0.3~0.6Mpa
适用介质:LO2、LN2、LAr、LNG、LC2H4等
适用温度:-196℃~+80℃
紧急切断实际:<2秒
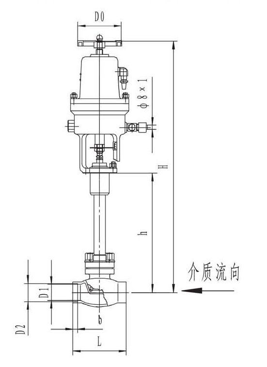
连接形式:法兰、焊接、螺纹
法兰标准:ANSI、DIN、JB/T82.1-94
可选附件:电气定位器、空气过滤减压阀、手轮机构、限位开关、电磁阀、保位阀及其它
主要零件材料:
阀体、阀盖、阀瓣、阀杆:304、316L不锈钢
填料:PTFE
阀瓣密封圈:PTFE或PCTFE
结构特点:
1、截止阀加上带弹簧复位的气动执行机构,在气缸部位加装安全附件(易熔塞)
2、本体部分利用手动低温截止阀的结构,密封面上作必要的改进,使其更适于紧急切断的使用要求。
3、行器部分采用单作用气缸活塞机构,动作平稳可靠
4、门的复位来自于沃德公司的高品质压缩弹簧
5、无法正常向阀门提供驱动气源时,可用阀门的手动装置启闭阀门,不影响整个系统的正常工作
工作原理
1、 在正常的情况下,利用活塞上部弹簧的压力,推动活塞向下运动,继而带动活塞杆和阀杆向下,使阀顶密封面和阀座密封面紧密贴合,实现阀门的关闭;当气缸充压后,活塞压缩弹簧向上运动,带动活塞杆和阀杆向上,将阀顶抬高,阀门开启;
2、 当阀门处于开启位置,正常工作时,若环境温度升高至70±5℃时,安装在气缸处的易熔塞熔化,气缸泄压,弹簧推动活塞向下运动,带动阀杆和阀顶向下,迅速关闭阀门,阻止介质继续流动,防止危险发生或扩大。

使用维护说明
1、 阀门宜存放在干燥室内,阀门应轻放,产品表面不得有任何磕碰、划伤等缺陷;安装时应注意介质的流动方向,由阀顶上方向下流动
2、 管道安装好后,应吹出干净
3、 气缸气源接头处接管为ø8*1或ø12*1(DN25以上)的铜管货不锈钢管。
如果您有需要咨询更详细的产品信息
欢迎联系德国沃德WODE授权一级代理商:北京永德宝阀门有限公司
电话:010-57038765;15001010879
|