进口电磁阀   |  进口卫生级阀门   |  进口真空阀门   |  进口蝶阀   |  进口调节阀   |  进口隔膜阀   |  进口减压阀   |  进口疏水阀   |  进口截止阀   |  进口仪表阀门管件   |  进口安全阀   |  进口球阀   |  进口放料阀   |  进口旋塞阀   |  进口管夹阀   |  
阀门知识
 调节阀知识
 阀门知识
 阀门技术
 法兰标准
产品分类
 进口电磁阀
 进口卫生级阀门
 进口真空阀门
 进口蝶阀
 进口调节阀
 进口隔膜阀
 进口减压阀
 进口疏水阀
 进口截止阀
 进口仪表阀门管件
 进口安全阀
 进口球阀
 进口放料阀
 进口旋塞阀
 进口管夹阀
 业务联系
 人才招聘
 客服电话
 在线联系
首页 - 阀门知识 - 阀门知识 
进口高压电磁阀实物图、选型技术参数
 
进口高压电磁阀实物图、选型技术参数
美国威盾VTON进口高压电磁阀广泛应用在航天、船舶重工、石油化工、给排水、消防设备、食品医疗设备、清洗设备、景观喷灌、加湿设备、液压设备、测试设备、水厂等,工作压力在1.6~360MPa的管道系统中。
进口高压电磁阀技术参数:
动作方式:先导型
环境温度:-30—+80℃;-50—+100℃
线圈工作温度:<+50℃、<+85℃
控制方式:常开式(通电阀关)、常闭式(通电阀开)、自保持式、两位三通型(一进两出、两进一出)
标准电压:AC(380、220、110、24)V、DC(220、110、24、12)V
流体介质:水、气、油等
流体温度:<-200℃、<-100℃、<-40℃、<+60℃、<+120℃、<+200℃ 、<+350℃、<+450℃
流通压力:1.6~360MPa
阀体材质:不锈钢(304、316、316L)
连接方式:螺纹、法兰、卡套、焊接
泄漏量:零泄漏
可选附件:带手动、带止回功能、带信号反馈、带过滤装置;防爆型、防护型
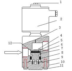
进口高压电磁阀工作原理:
常闭:当线圈通电时,先导阀芯吸合,先导孔打开,阀上腔卸压,活塞靠下腔介质压力推动,电磁阀打开;当线圈断电时,先导阀芯靠弹簧复位,先导孔关闭,阀腔由活塞节流孔增压和复位弹簧的推力,电磁阀关闭。
常开:当线圈通电时,先导孔关闭,阀上腔由活塞节流孔增压和复位弹簧的推力,电磁阀关闭。当线圈断电时,先导阀芯靠弹簧复位,先导孔打开,阀上腔卸压,活塞靠下腔介质压力推动,电磁阀打开。
进口高压电磁阀产品特点:
       阀芯均为不锈钢活塞式,活塞环不会被介质中的杂质卡死,动密封性能高,寿命长;活塞与金属阀腔不产生直接摩擦,阀体安装向无限制;专制线圈,不易烧毁;长时间停止动作重新启动,动作同样灵敏;最低启动工作压力0.5MPa。
订货须知
进口高压电磁阀订货时请填写《规格书》或注明以下内容:
一、若订货前还未选定型号,请向我们提供您的使用参数:
1.公称通径、额定流量系数KV;
2.流体性质(包括公称压力、温度、粘度或酸碱性);
3.电源电压;
4.连接方式:法兰、内螺纹;
5.阀的开关型式:常开式、常闭式;
6.阀体、阀芯材料;
7.是否带附件,说明附件型号。以便我们的为您正确选型。
以上产品描述中所有文字、数据、图片仅供参考!进口高压电磁阀价格合理,高效内部成本控制,让利于客户!如需了解性能参数、结构尺寸参数、价格等详情,欢迎联系美国威盾VTON国际集团授权一级代理商:北京永德宝阀门有限公司
电话:010-57038765;15001010879
或登录我公司网站www.010famen.comwww.fm135.com查看具体信息
 
 上一条:进口波纹管截止阀技术参数及实物图     下一条:进口高纯气体钢瓶减压阀实物图、选型技术参数